Dieser Beitrag beschreibt die Installationsroutine in der KIWI App und die Installation an der Tür.
Zunächst werden die auszustattenden Türen im KIWI-Portal angelegt. Sollte das noch nicht geschehen sein, finden Sie hier eine Anleitung: Vorbereitung im KIWI Portal
|
Der Beitrag ist in die folgenden Installationsschritte gegliedert Elektronischen Knauf am Schließzylinder befestigen KIWI Kompakt Knauf Blue in Betrieb nehmen |
Benötigte Materialien
KIWI App
- Laden Sie die KIWI App in Ihrem App Store herunter*
- Nach Anmeldung erscheinen die zu installierende Türen in der Türliste der App (Voraussetzung ist, dass die notwendige Berechtigung vergeben wurde)
- *Um KIWI-Produkte sicher zu nutzen, ist es wichtig, die neueste Version der KIWI App aus dem Apple App Store oder Google Play Store zu installieren.
Lieferumfang Knauf
1 Madenschraube
2 Mechanikknauf
3 Stulpschraube
4 Zylindergehäuse
5 Batterie
6 Elektronikknauf
7 Knaufhülle
Batteriewechselmagnet liegt bei. Alternativ eignet sich auch ein handelsüblicher, entsprechend geformter und starker Magnet zum Abnehmen/ Aufsetzen der Kappe des Elektronikknaufs.
Zusätzlich wird benötigt
- Schraubendreher Kreuzschlitz
- Innensechskant Gr. 1,5
Installation des Knaufs
Elektronischen Knauf am Schließzylinder befestigen
- Schaumstoff aus dem Zylindergehäuse entfernen. Darauf achten, dass die Zylinderöffnung dabei nach oben zeigt, damit die Kupplungsscheibe im Inneren nicht herausfällt. Falls die Kupplungsscheibe herausgefallen ist: Kupplungsscheibe im KIWI Blue Kompakt Knauf richtig einsetzen
- Elektronikknauf (A) auf das Zylindergehäuse schieben und mithilfe des mitgelieferten Sprengrings befestigen.
KIWI Kompakt Knauf Blue in Betrieb nehmen
- Batteriewechselmagnet an die Markierung auf der Knaufhülle des Elektronikknaufs halten (B).
- Knaufhülle nach vorne abziehen (C).
- Entfernen der Plastikfahne zwischen Batterie und Kontakt oder Wechsel der Batterie (D).
- Knaufhülle zurück auf den Knauf schieben, auf richtige Orientierung achten (E).
- Mit Magnet an der Markierung auf der Knaufhülle sicherstellen, dass Hülle fühlbar einrastet (F).
- Der schwarze Dichtungsring des Knaufkörpers darf nicht mehr sichtbar sein
- Die Hülle darf sich ohne Magneten nicht vom Knauf abziehen lassen
KIWI Kompakt Knauf Blue mit der KIWI App konfigurieren
- Internetverbindung benötigt
- Mit KIWI auszustattende Tür aus der Türenliste der KIWI App durch Tippen auf “Installieren” auswählen
- Anweisungen der App folgen (das Video zeigt den Installationsflow in der App für den regulären Knauf, daher weicht der Text leicht ab)
- Wir empfehlen nach der Installation, sofern notwendig, die Aktualisierung der Firmware.
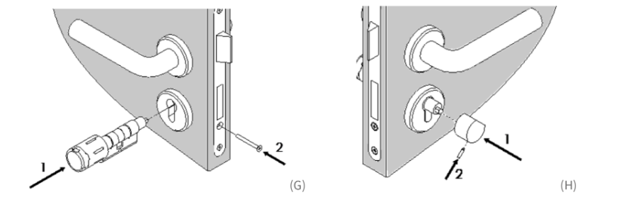
Knauf montieren
- Überprüfen, dass Sie sich an der korrekten Tür befinden. Installation nur bei geöffneter Tür durchführen!
- Sofern noch ein Schließzylinder installiert ist, Stulpschraube (G.2) lösen und Zylinder ausbauen.
- KIWI Kompakt Knauf Blue einschieben und Stulpschraube handfest anziehen (G).
- Mechanikknauf (H.1) befestigen, Madenschraube (H.2) handfest anziehen.
- Funktionsfähigkeit und Leichtgängigkeit des KIWI Kompakt Knauf Blue bei geöffneter Tür prüfen.